揽金超43亿!刚刚南通成交7宗好地

14117
0

刚刚!南通市区一口气成交7宗优质好地,成交总价超43亿,总用地面积约381046㎡。


涉及老城区、任港湾五龙汇、市北高新、观音山等核芯板块,重点是容积率都非常低,影响楼市格局。
图片

出让合同里面还提到该7宗地块将在2027年6月29日前动工建设,2030年6月29日前竣工。
7547f38ea3ca939ce535a86f02267ae2.png

这批“质优价好”的土地,如同为当前市场注入一剂强心针,给今年的南通楼市奠定了坚实的向好基调

以下是7宗地块的详细情况:

1

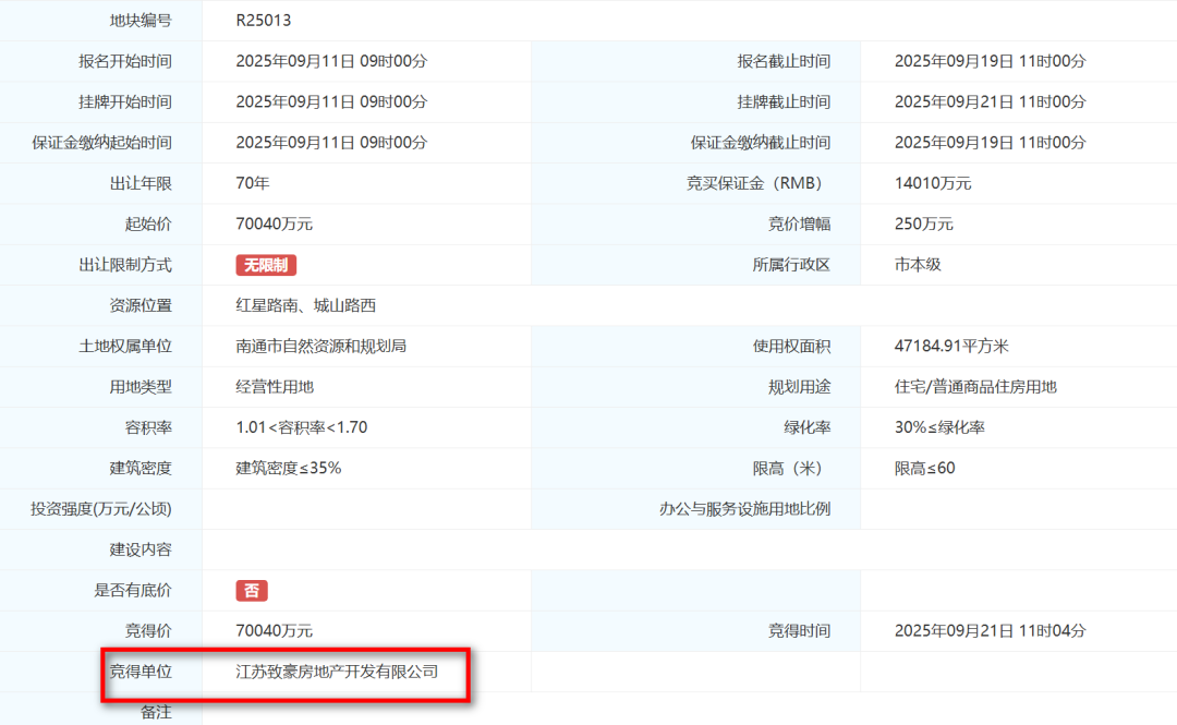
崇川区R25013地块


地块位置星路南、城山路西地块

出让面积:约47185㎡
用地性质住宅
容积率:1.01-1.70
建筑控制高度:≤60米
成交总价:70040万元
成交楼面价:8755元/㎡
图片

根据规划,地块建筑面积≤80000平方米将打造3层及以上住宅
f909b11b0b0713af6a86c70cef45b9fd.png

地块位于老城区中轴城山路,属于高端住宅居住区,周边配套资源丰富,东北侧为地铁1号线慈善博物馆站距离圆融广场、文峰城市广场、印象城、南大街等热门商圈都不远。
d35f3abc6ff00e1d3e698afac045f188.png

从教育资源方面来看城山路从南到北,你会依次路过通师一附、第一初级中学、南通师范高等专科学校、南通大学(启秀校区)等多所学校,同时地块西北侧就是
田家炳中学(高中部)

周边城山隐、兆丰嘉园、金茂府、天安花园等小区均是当时的天花板,目前周边二手房挂牌价在2-4万/㎡左右


2

崇川区R25014地块

地块位置濠北路南、豆洲路东

出让面积:约25523㎡
用地性质住宅
容积率:1.01-1.30
建筑控制高度:≤30米
成交总价:37330万元
成交楼面价:11312元/㎡
图片

根据规划,地块建筑面积≤33000平方米,将打造3层及以上住宅。
c24553b94ad344ce1068fa91a6b8dc99.png

地块属于任港湾五龙汇片区紧邻通吕运河及分水岛公园距离地铁1号线茶庵殿站较近,周边外环西路、人民西路、钟秀西路等主干道环伺,交通出行便捷。
图片

东侧一路之隔即为城港小学,周边还有西郊小学、城西小学、南通第一中学等优质教育资源;往北就是五水商圈,快速抵达山姆会员店、宜家家居、龙信广场、南通艾美酒店等热门商场,满足日常消费需求。

新房市场方面,地块周边有五龙云璟、南光澳门中心、运河院子等住宅小区,居住氛围浓厚。


3

崇川区R25015地块


地块位置:幸余路北、通生路西

出让面积:约147692㎡
用地性质住宅
容积率:1.01-1.04
建筑控制高度:≤40米
成交总价:111720万元
成交楼面价:7278元/㎡
图片

根据规划,地块建筑面积≤153500平方米,将打造3层及以上住宅。此外,小区还要配建一个菜市场,用地面积不小于4500㎡,建筑面积不小于5000㎡。
01fb055c914b27bf29296d17ae761824.png

地块属于市北高新板块,位于万科白鹭郡北侧,宝月湖。地块占据宝月湖生态景观核芯区,景观资源优越,开发可塑性高。
图片

同时地块临近地铁1号线唐闸公园站,交通出行较为便捷。周边还有张謇第一小学附属幼儿园、启秀市北小学、南通市第二中学等学校环伺,为板块教育赋能。

目前地块周边还有首开安澜如院、世茂璀璨未来、崇州云玺等小区在售,大多为已交付入住的次新房,居住氛围浓郁,属于不可多得的宜居板块。


4

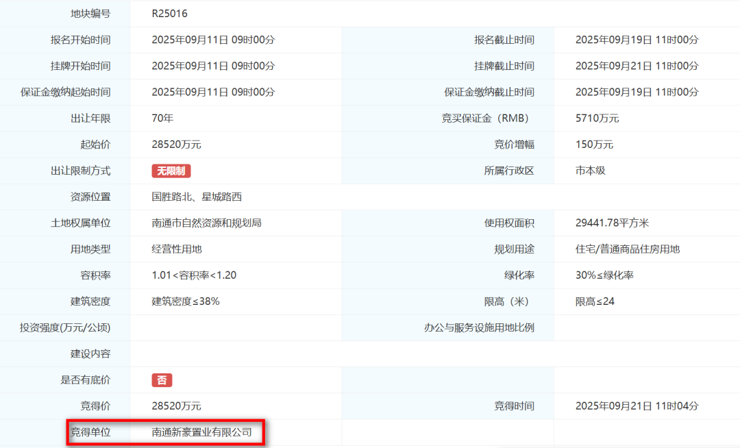
崇川区R25016地块


地块位置国胜路北、星城路西

出让面积:约29442㎡
用地性质住宅
容积率:1.01-1.20
建筑控制高度:≤24米
成交总价:28520万元
成交楼面价:8102元/㎡
图片

根据规划,地块建筑面积≤35200平方米,将打造3层及以上住宅。
图片

地块位于崇川观音山,邻近园林路人民东路等主要交通干道,毗邻海港引河绿廊,景色宜人,休闲舒适。

周边多个住宅小区环绕,生活配套设施齐全,生活氛围浓郁。地块属于崇川初级中学、二附集团同和小学施教区。
图片


5

崇川区R25017地块


地块位置长江中路西、节制闸西路南

出让面积:约41729㎡
用地性质住宅
容积率:1.01-1.50
建筑控制高度:≤60米
成交总价:61010万元
成交楼面价:9762元/㎡
图片

根据规划,地块建筑面积≤62500平方米,将打造3层及以上住宅。
图片


6

崇川区R25018地块


地块位置:长江中路西、钟秀西路南

出让面积:约30703㎡
用地性质住宅
容积率:1.01-1.50
建筑控制高度:≤60米
成交总价:44830万元
成交楼面价:9746元/㎡
图片

根据规划,地块建筑面积≤46000平方米,将打造3层及以上住宅。
图片
R25017、R25018两宗地块为相邻地块,位于任港湾片区,属于北滨江,紧邻长江,容积率仅1-1.5,纯粹的生态资源与绿意,未来打造成江景房势必会引起不小的关注。
图片

今年3月份,南通市公共资源交易网发南通市崇川区任港湾片区城市设计项目招标公告,未来这片区域将重点开发。
图片


本次设计方案的整体研究范围为东至孩儿巷路、外环西路,南至任港路,西至长江,北至江海大道、钟秀西路,总面积约7.1平方公里。

城市设计范围为东至外环西路、长江中路、经十二路,南至任港路,西至长江,北至江海大道、人民西路、钟秀西路,总面积约为3.11平方公里。

图片


其中,长江中路以西地块,将作为重点片区进行详细设计,提升片区形象、城市品位,结合景观视廊、天际轮廓线相关分析塑造具有标识性的节点空间形态。



7

崇川区R25019地块


地块位置人民西路南、港秀路东

出让面积:约58773㎡
用地性质住宅
容积率:1.01-1.23
建筑控制高度:≤40米
成交总价:82160万元
成交楼面价:11977元/㎡
图片

根据规划,地块建筑面积≤68600平方米,将打造3层及以上住宅。
图片

地块包含两个功能区,功能区一用地面积约28191年方米,容积率1.01-1.30;功能区二用地面积约27918平方米,容积率1.01-1.15。
图片

地块属于任港湾片区,紧邻地铁1号线茶庵殿站,北侧就是原汽车客运站的位置,目前已调整为商业用地。
图片

区域内还将规划一所小学、一所初中,其中小学就是通师二附任港湾校区。
图片

在今年年初崇川区发布的《2025年政府工作报告》中,明确提出将启动通师二附任港湾校区建设。通师二附任港湾校区位于人民西路南、港秀路西侧,工程拟用地面积约46034㎡,总建筑面积约37853㎡。
图片
效果图

以上就是本文内容,你对今年南通土地市场怎么看?欢迎评论区互动~


编辑:星姐
主编:芷儿
- 本文为原创,信息来源南通市自然资源网上交易平台-


责任编辑:濠滨星姐

扫一扫,分享到微信

相关资讯

我要评论:

评论

0人参与